Компакт-диски
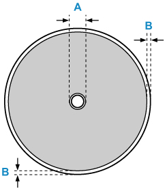
Область печати компакт-диска — это область в пределах от 17 мм (0,67 дюйма) внутреннего диаметра до 1 мм (0,04 дюйма) от внешнего диаметра поверхности печати.

Область, доступная для печати
- A: 17,0 мм (0,67 дюйма)
- B: 1,0 мм (0,04 дюйма)

